E-posta iezaguzu
Produktuak
CV hutsezko sorgailuak
  • CV hutsezko sorgailuakCV hutsezko sorgailuak
  • CV hutsezko sorgailuakCV hutsezko sorgailuak
  • CV hutsezko sorgailuakCV hutsezko sorgailuak
  • CV hutsezko sorgailuakCV hutsezko sorgailuak
  • CV hutsezko sorgailuakCV hutsezko sorgailuak

CV hutsezko sorgailuak

Model:CV-10HS
CV-aren hutsezko sorgailuen fabrikazio profesional gisa, ziurtatu dezakezu CV hutsezko sorgailuak gure fabrikako eta OLK-k salmenta osteko zerbitzu onena eta entrega puntuala eskainiko dizkizu.

Oualeiai (OLK) CV hutsezko sorgailuak xurgagailu edo lanabesak egiteko behar den hutsezko ingurunea emateko erabiltzen dira. Sarrerako portua aire konprimituarekin konektatu behar da, eta xurgagailuaren portura konektatuta dagoen bitartean. Aire konprimitua sarrerako portua ihes-portura isurtzen denean, hutsean hutsean sortzen da. Hutsezko indar hau objektuak atxikitzeko erabil daiteke, konponketa edo laguntza bezalako zereginak lortzeko, horrela industria-ekoizpenean eraginkortasun operatiboa hobetuz.


OLK CV hutsezko sorgailuek egitura sinplea eta zerbitzu luzeko bizitza dute.


CV serie hutsezko sorgailua:

Hutsean eratzeko aire konprimitua erabiltzen duen hutsezko sorgailua, hutsezko xurgagailu batekin konbinatuta erabil daiteke materialak garraiatzeko.

2. Babesleen eskaerak asetzeko mota eta errendimendu sorta zabala duten sorgailuak .cv seriea plaka hutsezko sorgailua da.


Ikurra:

Agindu kodea
CV - 10 H S
CV serieko hutsezko sorgailua
Toberaren diametroa (orifice tamaina) Hutsezko presioa iritsi da Aire hornidura presioa


10: φ1.0 H: -88KPAR PRESIO MOTA S: 5 Bar


15: φ1.5



20: φ2.0

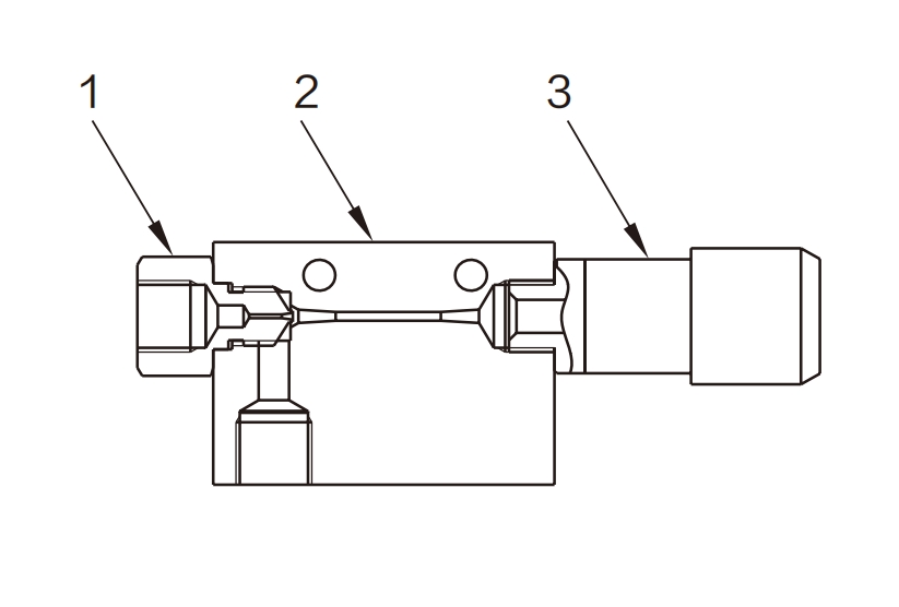
Ez. Izen Material
1 Hornidura portua Letoi
2 Gorputz Aluminio
3 Isil Pup

CV serieko hutsezko sorgailua Parametro orokorrak 

Lan-euskarria

Olio gabeko aire konprimitua

Laneko presio sorta mpa (psi)

0,1 ~ 0,6

Lan tenperatura ° C

0 ~ 60 (ez izoztu)

CV serie hutsezko sorgailua parametro desberdinak

Eredu A B C D E F G H I J / V portua: hutsean K L / P portua: aireko sarrera O P Silencer / R portua: agortzea
Cv10 45 33 16 10 8 14 20 4.5 Φ4.2 G1 / 8 10 G1 / 8 14 90 G1 / 8
CV15 64 35 20 11 10 20 25 5 Φ4.5 G1 / 4 15 G1 / 4 17 123.5 G1 / 4
Cv20 85 40 30 15 13 28 32 7 Φ6 G3 / 8 20 G1 / 4 17 165.5 G1 / 2

eredu

Toberaren diametroa mm

Presioaren baloratu du MPA

Xurgapen fluxua R / Min (Anr)

Iritsi hutsean presio KPA

Airearen kontsumoaren fluxu tasa R / min (anr)

N.w (g)

Cv-10hs

1

0.5

27

-0,92

44

80

CV-15hs

1.5

0.5

63

-0,92

100

140

CV-20hs

2

0.5

110

-0,92

180

350

CV hutsezko sorgailua egiteko neurriak


1. Sorgailuaren fluxu-tasa behar bezala aukeratu behar da.

Fluxu-tasa handiegia bada eta egokia ez bada, "xurgapenaren" eta "xurgapenaren" arteko hutsean dagoen aldea ez da argia izango.

Honek hutsezko etengailua behar bezala funtziona dezake.

Vacuum Logika Balbulek ere arazo bera izan dezakete. Mesedez, arreta berezia jarri eta aurrez partekatutako lotutako oharrak aipatu.


2. Hutseko sorgailuaren aire hornidura lehorra eta garbia izan behar da.

Hutseko portuaren eta xurgapen koparen artean, hutsezko iragazkia instalatu behar da beharrezkoa izanez gero.

Ez ezazu uretan zurrupatu, eta batez ere ez olioa, hau tobera blokeatu dezakeelako.

Isiltzailearen irteera ez da blokeatu behar.

Ihes-hodia luzatzen baduzu, kontuan hartu ihes pobreak hutsezko presioa sor dezakeela.


3. Hutsik dagoen sistemak kolpe-hodi bat lotzen du xurgapen kopa azkar askatzen laguntzeko.

Kasu honetan, ziurtatu kolpearen presioa eta fluxua ez direla oso altuak.

Altueralagoa bada, presioa hautemateko pistoia piztu eta sorgailua huts egin dezake.



Ohiko galderak:

Zein da hutsezko sorgailuaren eta hutsezko ponparen arteko aldea?


Hutsezko ponpak presio negatiboa sortzen du xurgapen portuan eta agortzen da zuzenean atmosferara. Gasa kentzen du sarrerako eta irteeraren arteko presio-diferentzia handi bat mantenduz.


Hutsezko sorgailu batek aire konprimituaren fluxua erabiltzen du hutsean sortzeko.


Zer osagarri behar dira CV hutsezko sorgailurako?

Isilatzaile bat eta bi burdineria


Zergatik ez dago xurgapen-indarraren parametro bereizirik?

Xurgapen indarra sorgailuaren hutsearen eta xurgapen koparen tamainaren araberakoa da.

Formula: Presioa × Area = indarra.

Xurgapen-koparen tamaina finkoa da, baina hutsean maila aldatu da sorgailuarekin eta emari-tasarekin. Mesedez, ikusi parametroen azalpena xehetasunetarako.


Zergatik ezin da hutsean gehien lortu?

Xurgapen-fluxua txikiegia bada, ezin du ihesak gainditu, presio jaitsiera eraginez. Sorgailurako aire hornidura nahikoa ez dela izan daiteke.

Sorgailua dagoeneko gehienez hutsean iristen bada, baina xurgapena ahula da oraindik, xurgapena txikiegia izan daiteke. Sorgailua ordezkatzeak ez du kasu honetan xurgatzea areagotuko.


Zein hutsezko sorgailuak xurgatzaile sendoagoa du?

Goratzaile batek berak ez du "xurgapen indarrik" parametroa, gehienezko hutsean soilik.

Gehienezko hutsena ez da benetako hutsean berdina. Ereduen arteko benetako aldea hutsaren fluxu tasa da.

Xurgapen indarra = hutsean × xurgatzeko eremua. Xurgapena zehazten duen sorgailuaren eta xurgapen koparen konbinazioa da.

Sorgailu baten hutsezko fluxu-tasa aplikaziorako baxua bada, hutsean maila eroriko da eta xurgapena ez da nahikoa izango. Kasu horretan, aukeratu beharko zenuke

Gai

Hutsezko ponpa

Hutsezko sorgailua

Gehienezko hutsean

Gehienez 101,3 KPA (gehienezko balioa aldi berean iritsi daiteke)

Gehienez 88 KPA (ezin da balio maximoa aldi berean iritsi)

Xurgapen-tasa

Oso handia

Ez da handia

Egitura

Konplexu

Soil

Ozentasun

Handi

Oso txikia

Pisu

Astun

Oso arina

Zerbitzuaren bizitza

Pieza mugikorrak erabiliz; nahiko luzea

Ez mugitzen diren piezarik; Zerbitzu luzeko bizitza

Energia kontsumoa

Nahiko altua

Nahiko altua

Salneurri

Garai

Baxu

Jartze

Desegoki

Egoki

Mantenimendu

Murriztu

Ez da beharrezkoa

Osagarriekin integratzea

Zail

Erraz

Hutsean sortzea eta askatzea

Motel

Agudo

Presioaren pultsazio hutsean

Pultsazioarekin, hutsezko depositua beharrezkoa da

Ez da pularik, hutsezko depositua behar

Aplikazio-eremuak

Etengabeko fluxu handiko eragiketa egokia da; ez da egokia hasteko / gelditzeko; onena erabilera zentralizatua lortzeko

Aire hornidura konprimitua behar du; Egokia da fluxu txikiko eragiketen artean; Best bidez erabiltzeko onena; Materiala alda daiteke beroarekiko erresistentzia eta korrosioarekiko erresistentzia lortzeko

Hot Tags: CV hutsezko sorgailuak, Txina, fabrikatzailea, hornitzailea, fabrika
Bidali kontsulta
Harremanetarako informazioa
  • Helbidea

    Zhengtai errepidea, Xinguang Industria Zona, Liushi, Yueqing, Wenzhou, Zhejiang, Txina.

  • Posta elektronikoa

    cici@olkptc.com

Ongi etorri gure webgunera! Gure produktuei edo prezio-zerrendei buruzko kontsultak egiteko, utzi zure posta elektronikoa eta 24 orduko epean jarriko gara harremanetan.
Posta elektronikoa
cici@olkptc.com
Mugikorra
+86-13736765213
Helbidea
Zhengtai errepidea, Xinguang Industria Zona, Liushi, Yueqing, Wenzhou, Zhejiang, Txina.
X
Cookieak erabiltzen ditugu nabigazio esperientzia hobea eskaintzeko, guneko trafikoa aztertzeko eta edukia pertsonalizatzeko. Gune hau erabiltzean, gure cookieen erabilera onartzen duzu. Pribatutasun politika
Baztertu Onartu