E-posta iezaguzu
Produktuak
3V2 solenoide balbula 3 bide
  • 3V2 solenoide balbula 3 bide3V2 solenoide balbula 3 bide
  • 3V2 solenoide balbula 3 bide3V2 solenoide balbula 3 bide

3V2 solenoide balbula 3 bide

Jarraian, 3V2 solenoide balbula 3 bideen sarrera da. OLK-k espero du hobeto ulertzen laguntzea 3V2 solenoide balbula 3 bideetan. Ongi etorri bezero zahar eta berriei gurekin elkarlanean jarraitzeko elkarrekin etorkizun hobea sortzeko!

3V2 solenoide balbula txikia, arina eta instalatzeko erraza da. Bere gorputza aluminio sendoz egina dago, herdoila eta kalteak jasaten dituena. Balbulak solenoide bobina fidagarri bat erabiltzen du, DC12V, DC24V, AC110V edo AC220V potentziarako aukerak dituena.

OLK markako 3V2 solenoide balbula honek ondo funtzionatzen du fluxu ertaineko aire kontrolatzeko. Azkar aldatzen da, potentzia gutxi erabiltzen du eta denbora luzez irauten du. Normalean itxita (NC), normalean irekia (NO) edo solenoide bikoitza izan daiteke. Askotan erabiltzen da automatizazio-lerroetan, ontziratzeko makinetan, inprimatzeko makinetan eta janari-makinetan. Bere tamaina txikiak leku estuetarako aproposa da.

3V2 solenoide balbula 3 bide Produktuen ezaugarria

1.Ekintza zuzeneko egitura kommutazio sentikorrarekin.

2.Normalean itxita (NC) eta normalean irekia (NO) motak eskuragarri daude.

3.Itzateko diseinu koaxiala zigilatzeko eta fluxu handirako.

4.Ez da lubrifikaziorik behar.

5.Eskuz gainditzea erraz instalatzeko eta probatzeko.

6.Multiple tentsio estandar aukerak eskuragarri.

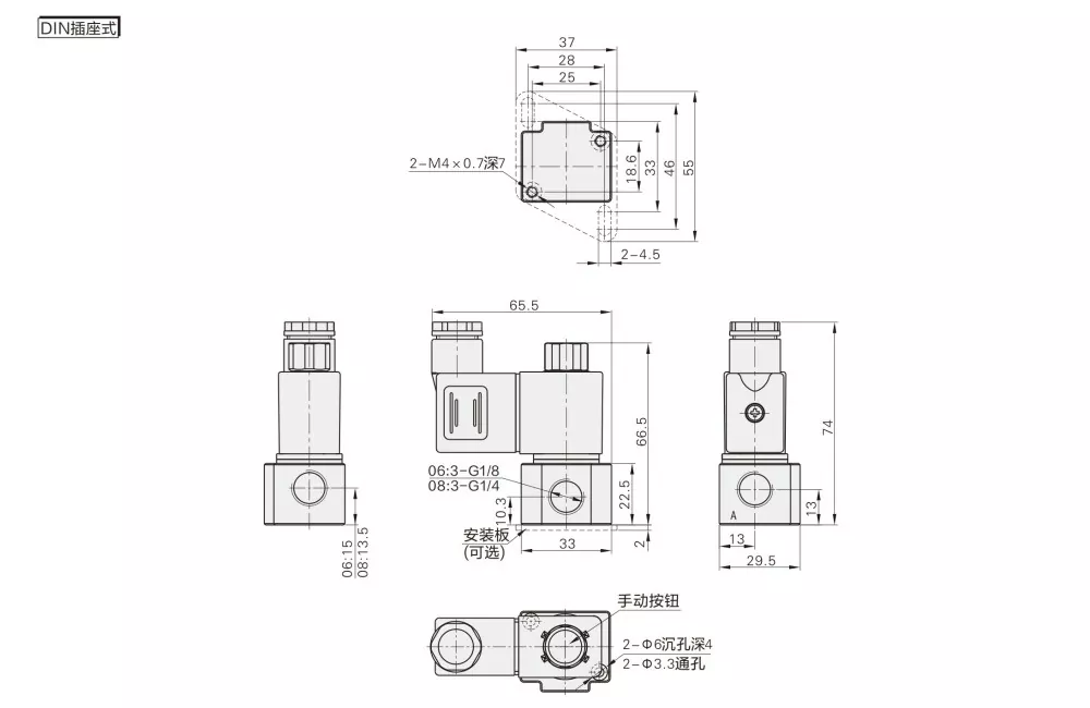
3V2 balbula ikurra:

Eskaera kodea

3V

2

-

08

NC

A

 

 

 

Eredua

Kodea

 

 Portuaren tamaina

Lubrifikazioa

Tentsio estandarra

Sarrera elektrikoa

Hari mota

 

3V:2 posizioa 3 bide

2:2 seriea

 

06:G1/8

11 mm²(Cv = 0,62)

A: AC220V

Hutsik: ZURE mota

Hutsik: G

 

 

 

 

08:G1/4

EZ: normalean irekita

B: DC24V

I: Lerro mota

T:NPT

 

 

 

 

 

 

C: AC110V

 

 

 

 

 

 

 

 

E: AC24V

 

 

 

 

 

 

 

 

F: DC12V

 

 

 


Eredua

3V206

3V208

Lan ertaina

Airea (40 μm edo gorago iragazkiarekin iragazita)

Airea (40 μm edo gorago iragazkiarekin iragazita)

Aktore Mota

Zuzeneko Antzezpena

Portuaren tamaina

G1/8

G1/4

Posizioa eta Bidea

2 Kokatu 3 modu

Eremu Eraginkorra

3,2 mm² (Cv = 0,18)

3,4 mm² (Cv = 0,19)

Lubrifikazioa

Ez da beharrezkoa

Funtzionamendu-presio-tartea

0 ~ 0,8 MPa (0 ~ 114 psi)

Froga Presioa

1,5 MPa (215 psi)

Funtzionamendu-tenperatura (℃)

-20 ~ 70

Gorputzaren Materiala

Aluminiozko aleazioa

 

Tentsio estandarra

AC220V AC110 AC24V  DC24V  DC12V

Tentsio Gama

AC: ±% 15 DC: ±% 10

Energia-kontsumoa

AC: 7VA DC: 7.0W

Babes Klasea

IP65 (DIN40050)

Isolamendu-maila

B Maila

Konexio mota

DIN entxufe mota/line mota

Min.Escitazio Denbora

0,05 seg


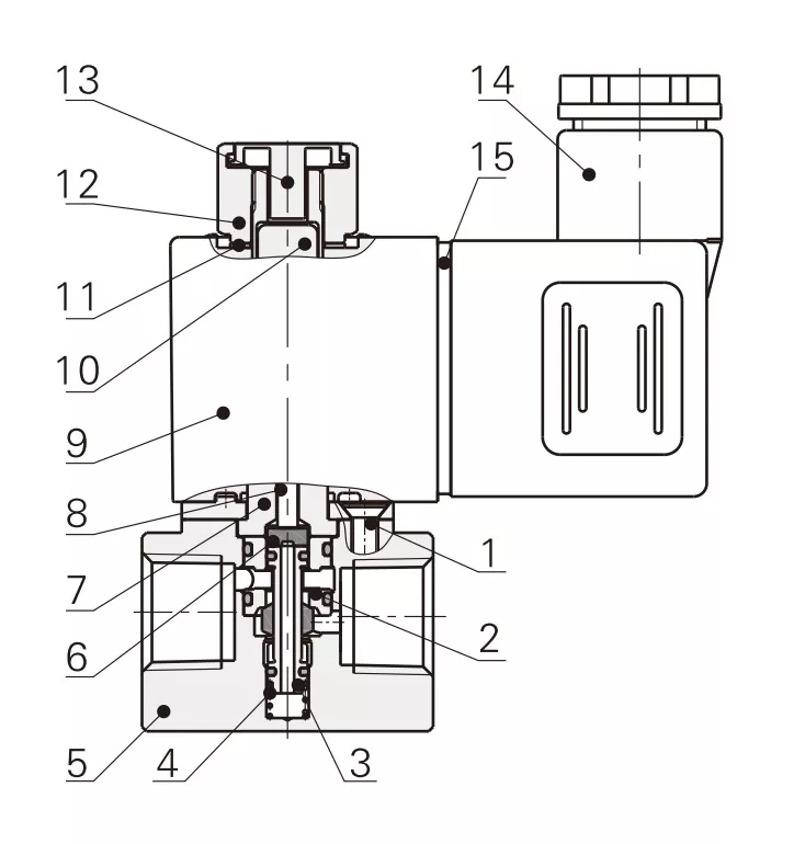
Ez.

Izena

1

Torloju abokatua

2

Espaziorako mahuka

3

Nukleoen Batzarra

4

Juntagailua

5

Gorputza

6

Juntagailua

7

Solenoideen multzoa

8

Plunger Rod

9

Bobina

10

Burdin Nukleoa mugitzea

11

Garbigailu finkoa

12

Intxaur finkoa

13

Eskuzko botoia

14

Terminala

15

Terminaleko junta


Elementua

3V1-M5/3V1-06

2V025-06/2V025-08

3V2-06/3V2-08

3V3-08

Lan ertaina

Airea

Airea,Ura,Olioa

Airea

Airea

Hasierako egoera:

NC

NC/EZ

EZ/NC

EZ/NC

Aktuazio Mota

Zuzeneko Antzezpena

Zuzeneko Antzezpena

Zuzeneko Antzezpena

Zuzeneko Antzezpena

Portuaren tamaina

M5;G1/8

F: DC12V

F: DC12V

G1/4

Posizioa eta Bidea

3 Portua 2 Posizioa

2 Portua 2 Posizioa

3 Portua 2 Posizioa

3 Portua 2 Posizioa

Lubrifikazioa

Ez da beharrezkoa

Ez da beharrezkoa

Ez da beharrezkoa

Ez da beharrezkoa

Lan-presioa

0–0,7 MPa

0–0,7 MPa

0–0,8 MPa

0–0,8 MPa

Froga Presioa

1,2 MPa

1,5 MPa

1,2 MPa

1,2 MPa

Orifizioaren Tamaina

φ1,2 mm

φ2,5 mm

Φ3,2 mm/φ3,4 mm

Φ11 mm (aire fluxu handia)


Ohiko galderak:

G: Zein da 3V2 eta 3V3 solenoide balbularen arteko desberdintasun nagusia?

A: 3V2: erdiko fluxua, kontrol sistema pneumatiko txikirako egokia

3V3: fluxu handikoa, zilindro anitzeko edo fluxu handiko aplikazioetarako egokia.

Egituraren aldea: 3V3-k gorputz handiagoa du eta presio eta fluxu handiagoak maneiatu ditzake.


G: Zein da 3V2 solenoide balbula orifizioaren tamaina?

A: 3V2-06 balbula-horien tamaina 3,2 mm-koa da; 3V2-06 balbula-horien tamaina 3,4 mm-koa da


G: Zein produktu ordezkatu ditzake OLK 3V2?

A: OLK 3V2-k AIRTAC 3V2 serieko solenoide balbulak ordezkatu ditzake funtzio berdinarekin eta antzeko zehaztapenekin.


Hot Tags: 3V2 solenoide balbula 3 bide, Txina, fabrikatzailea, hornitzailea, fabrika
Bidali kontsulta
Harremanetarako informazioa
  • Helbidea

    Zhengtai errepidea, Xinguang Industria Zona, Liushi, Yueqing, Wenzhou, Zhejiang, Txina.

  • Posta elektronikoa

    cici@olkptc.com

Ongi etorri gure webgunera! Gure produktuei edo prezio-zerrendei buruzko kontsultak egiteko, utzi zure posta elektronikoa eta 24 orduko epean jarriko gara harremanetan.
Posta elektronikoa
cici@olkptc.com
Mugikorra
+86-13736765213
Helbidea
Zhengtai errepidea, Xinguang Industria Zona, Liushi, Yueqing, Wenzhou, Zhejiang, Txina.
X
Cookieak erabiltzen ditugu nabigazio esperientzia hobea eskaintzeko, guneko trafikoa aztertzeko eta edukia pertsonalizatzeko. Gune hau erabiltzean, gure cookieen erabilera onartzen duzu. Pribatutasun politika
Baztertu Onartu